Elektronische Mischbatterie TEMPOMATIC MIX PRO
Art. 495253
Netzbetrieb
Netzbetrieb
BESCHREIBUNG
Elektronische Mischbatterie TEMPOMATIC MIX PRO
Art. 495253Elektronische Waschtisch-Mischbatterie für Standmontage:
Externe Elektronik-Box IP65.
Netzbetrieb mit integriertem Trafo 230/12 V.
Durchflussmenge voreingestellt auf 4 l/min bei 3 bar, einstellbar von 1,4 bis 6 l/min.
Verkalkungsarmer Strahlregler.
Programmierbare Hygienespülung (Werkseinstellung ~60 Sekunden alle 24 h nach der letzten Nutzung).
Stoßfester Infrarotsensor mit Präsenzerfassung.
Körper aus Messing verchromt, verstärkte Befestigungen und Verdrehsicherung durch 2 Edelstahlbolzen.
PEX-Anschlussschläuche mit Schutzfiltern und Magnetventilen G 3/8B.
Schwenkauslauf 360° innen glatt (begrenzt Bakterienablagerungen).
Auslauf abnehmbar zur Reinigung.
Antiblockiersicherheit gegen Durchlaufen.
Seitlicher, langer und ergonomischer Mischhebel mit einstellbarer Warmwasserbegrenzung.
Magnetventile befinden sich vor der Mischkammer.
Geeignet für bewegungseingeschränkte Personen.
30 Jahre Garantie.
Zwei Schließprogramme:
Standard-Modus: automatisches Schließen nach begrenzter Laufzeit.
ON/OFF-Modus: gezielte Abschaltung, andernfalls nach 30 Minuten Laufzeit. Geeignet für thermische Desinfektionen.
Externe Elektronik-Box IP65.
Netzbetrieb mit integriertem Trafo 230/12 V.
Durchflussmenge voreingestellt auf 4 l/min bei 3 bar, einstellbar von 1,4 bis 6 l/min.
Verkalkungsarmer Strahlregler.
Programmierbare Hygienespülung (Werkseinstellung ~60 Sekunden alle 24 h nach der letzten Nutzung).
Stoßfester Infrarotsensor mit Präsenzerfassung.
Körper aus Messing verchromt, verstärkte Befestigungen und Verdrehsicherung durch 2 Edelstahlbolzen.
PEX-Anschlussschläuche mit Schutzfiltern und Magnetventilen G 3/8B.
Schwenkauslauf 360° innen glatt (begrenzt Bakterienablagerungen).
Auslauf abnehmbar zur Reinigung.
Antiblockiersicherheit gegen Durchlaufen.
Seitlicher, langer und ergonomischer Mischhebel mit einstellbarer Warmwasserbegrenzung.
Magnetventile befinden sich vor der Mischkammer.
Geeignet für bewegungseingeschränkte Personen.
30 Jahre Garantie.
Zwei Schließprogramme:
Standard-Modus: automatisches Schließen nach begrenzter Laufzeit.
ON/OFF-Modus: gezielte Abschaltung, andernfalls nach 30 Minuten Laufzeit. Geeignet für thermische Desinfektionen.
Brutto-Preis o. MwSt. Deutschland/Österreich 2025: 575,68 €
VORTEILE

Wasserersparnis von 85 %

Hygiene: handkontaktfreie Betätigung

Verschiedene Schließprogramme möglich

Externe Elektronik-Box IP65
TECHNISCHE DATEN
Elektronische Mischbatterie TEMPOMATIC MIX PRO
Art. 495253| Versorgung | Netzbetrieb 230/12 V |
| Anschluss | G 3/8B |
| Technologie | Elektronisch |
| Auslaufhöhe | 310 mm |
| Auslauflänge | 200 mm |
| Durchflussmenge | 4 l/min |
| Normen und Zertifizierungen |
|
| Garantie | |
| Ersatzteilsicherheit | ![]() |
Ersatzteile
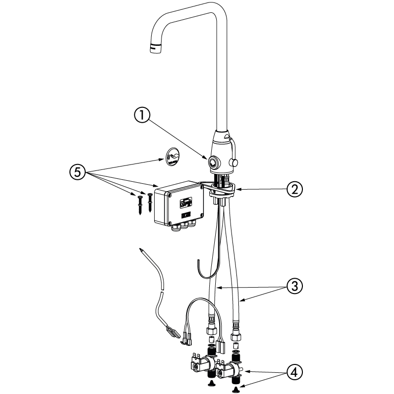
ERSATZTEILE
Elektronische Mischbatterie TEMPOMATIC MIX PRO
Art. 495253
| 1. | 963445 |
|
Schwenkauslauf G 3/4 |
| 2. | CEL378V |
|
Sensor |
| 3. | 256P |
|
Befestigungsflansch |
| 4. | FLEX795 |
|
Flexible Anschlussschläuche G 3/8 Edelstahlumflochten |
| 5. | 495612 |
|
Magnetventil |
| 6. | 495445BC |
|
Elektronik-Box |
AUSFÜHRUNGEN
| 495257 | Batteriebetrieb - Auslauf H. 310 mm - Langhebel - G 3/8B | 690,82 € o. MwSt. |
|---|
AUSFÜHRUNGEN
| 495257 | Batteriebetrieb - Auslauf H. 310 mm - Langhebel - G 3/8B | 690,82 € o. MwSt. |
|---|
